特斯拉正在发动新一轮的进攻。
自 Model Y 提前交付的消息曝光以来,外网上相继出现了各种 Model Y 的图片和视频。其中包括 Model Y 在工厂外整装待发的图片。
按照特斯拉的规划,Model Y 原本定于 2020 年秋季才正式交付。但在 2020 年 1 月 29 日发布的特斯拉 2019 年 Q4 财报中,特斯拉官方表示,Model Y 将在 2020 年 1 月开始量产,并在第一季度末开始交付。
图片来源 网友 wilson lam
对于特斯拉来说,跳票早已成家常便饭。而 Model Y 却提前交付,这显然有些不合乎常理。
所以就产生了一个核心的疑问:Model Y 为什么能这么快?这背后发生了什么?
本文将围绕着这一核心来展开阐述。

新生产工艺之 Model Y
毫无疑问,特斯拉面临最大的问题之一,便是产能不足。
要解决产能不足,主要有两个方向:一是增加工厂数量,二是提高生产效率。
从上海超级工厂到德国柏林超级工厂,特斯拉进取的决心有目共睹。但建厂毕竟有限,要想更快,提高工厂的生产效率成了必经之路。所以特斯拉兵分两路,两个方向都在进行。

特斯拉柏林工厂已完成树木砍伐
特斯拉也非常清楚,打造一条更高效的生产线,也能使各大超级工厂往后的生产更加受益。
所以,特斯拉想到了一个办法——全自动工厂。
全自动工厂,顾名思义就是完全靠机器运转,无需人工干预。
计划实施的最初,是特斯拉的全自动工厂 Alien Dreadnought。按照当初的规划,该工厂将用于投产 Model 3,而投产 Model 3 的自动产线被称为 Dreadnought 0.5。投产 Model Y 的产线会更强,被称为 Dreadnought 3.0。
听上去比较美好,而马斯克曾经也很膨胀,并大言不惭地说到:「这将实现(真正疯狂)的效率提升,对于其他汽车制造商来说,这会是一件非常困难的事情。如果我站在他们角度上,我不知道该如何应付。」
正如马斯克所说,他确实不知道如何应付。计划实施不久,马斯克就被宣告打脸了,为此还付出了 20 亿美金(Bernstein Research 评估的数值)的代价。
后来在 Marques Brownlee 的专访中,马斯克也坦言,「我们犯过一个错误,这错误还挺严重的,我们试图将总装工艺自动化。但有些活儿对于机器人来说太难了,比如说试着连接一根软管,就是会左右晃动的那种,机器人会试图找到那根软管,抓住它和另一根线束连接。
但机器人会抓错,然后插错地方,线束明明在这里,但机器人却认为在那里,这时就会抓空,再甩向汽车。而人做的话就很简单,不管怎么放,人都知道怎么操作。这真是个荒唐的错误,真是悲惨的错误。」
自此,全自动工厂便告一段落。
但这远没有结束,提高生产效率仍然是特斯拉的重要战略之一。
马斯克也说过,「工厂生产线有一部分的自动化程度已达到了 80-90%」。而如果从这部分去提升效率,生产速度也将变得更快。
于是,在特斯拉 2019 年 Q4 财报上,特斯拉公布了几张关于 Model Y 生产线的图片,但就是这么几张图片,就引起了各大外媒的竞相分析。

图片来源 特斯拉 2019 年 Q4 财报截图
其中,德国工程师 Holger Erker 分析后得到:「Model Y 采用了巨大的车架铸件,与传统的冲压钢车身相比,Model Y 白车身的总生产时间将大大减少。」
而 Model Y 的生产时间将减少多少?Holger Erker 说,「除去车身底部部分的净加工时间,铸件消除了 1000 至 1500 个焊点,每个焊点需要 5 至 7 秒。总共可以节省约 120 分钟的时间。」
什么意思?也就是说,经过 Holger Erker 分析,Model Y 的白车身已经采用了新生产工艺,这种生产工艺采用了巨大的铸件,从而减少了焊点,进而减少了生产时间。
这样一来,Model Y 交付提前的原因也渐渐浮出了水面。
但光分析是不够的,特斯拉采用的新工艺到底是什么?这也需要一个答案。到这里,就不得不提特斯拉的「车架多方向一体铸造机及相关方法」专利。

特斯拉工艺进化之
「整体铸造车身」
2019 年 7 月,据 electrek 报道,特斯拉有一台巨大的新机器,几乎可以生产 Model Y 的一整个白车身。回顾该专利,其编号为 US20190217380,名为车架多方向一体铸造机及相关方法。

图片截自 WIPO
该专利发明的背景,用特斯拉的话来说,通常情况下,白车身是通过分别使用多台压铸机来制造出车身的不同部件。
比如,工厂中的一种压铸机可能专用于某个部件。当这些部件都生产出来后,需要由工人或机器人将他们焊接在一起,从而形成一整个白车身。
而这些单独的部件也将带来问题,比如说,压铸的机器负责一个部件,那么多个部件就要使用到多个机器。这样一来,在制造的过程中将产生更多的资金成本和时间成本。
所以特斯拉发明了这一专利,可以减少制造相关的成本,包括但不限于工厂运营成本、工具成本(设备数量)、时间成本、人工成本。分为两大块的话,还是减少时间成本和资金成本。
专利内容
该专利描述的是一台多向铸造机,其可用于铸造一体式车身,更具体地说,是用于制造电动车的一体式车身。车身的多个部分可以一体化制造,不需要进一步的组装和焊接。总的来说,这可以减少车身的零件数量和操作步骤。
简单来说,就是将大大小小的车架零件集成到一起,形成一体的大模块,比如说,直接浇铸一个车身的整个侧面。然后通过自动化组装这几个大模块,再进行焊接,成为了一个整白车身。这样一来减少中间的环节,进一步加快效率。


图片来源 WIPO
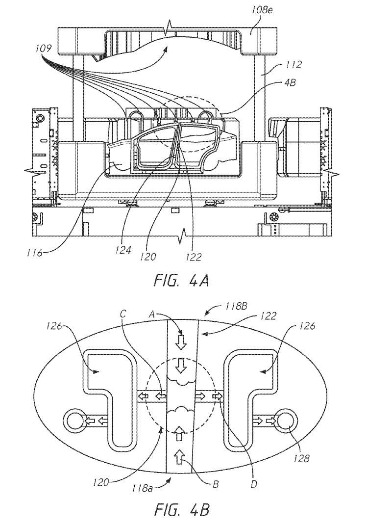
然后具体看一下专利图,专利中描述的操作步骤比较复杂。但简单点来说,就是先将车身拆分为几个大模块分别制造,这几个大模块由图中上、左、右、前、后的机器来完成,我们暂且将这几个机器比喻为「 5 个工人」。
「 5 个工人」把这几大模块制造完成后,将模块们拼合在一起,从而得到一个白车身半成品。接着再通过少量的焊接,将他们连接起来,就成了一个完整的白车身。
至于这「5 个工人」是如何制造白车身的各大模块,专利中表示将使用浇铸的方法。也就是说,这五个工人各有一个模具,通过将熔化的金属注入模具中,从而得到白车身的各个模块,然后进行拼合。
了解专利后,我们就不难去理解德国工程师 Holger Erker 的分析。

概念已成现实?
除了上面说到的结论,德国工程师 Holger Erker 同样对财报中的图片进行了深入分析,他表示:
「从特斯拉 2019 年 Q4 财报发布的照片中可以看出,Model Y 的白车身是由多材料混合单体制成,类似于 Model 3 的白车身。但不同的是,Model Y 白车身是由四个主要部件组成,包括后铸件、前铸件、BS Asm LH(左侧车身组件)和 BS Asm RH(右侧车身组件)以及薄板和封闭件等。」


图片来源 insideevs
换句话来说,Model Y 已经使用了专利中描述的一体式车身部件。而据 electrek 的猜测,特斯拉可能制造了两个巨大的铸造部件,其中一个是用来固定发动机的。
接着,Holger Erker 解释到:
「白车身分为三部分(内部、外部和后部),内部和外部结构均由 HSS(高强度钢)或 UHSS(超高强度钢)冲压钢板制成。由于高拉伸强度,面板的成型只能通过热压来完成。所以,我们可以在面板上找到可见的热痕。
更有趣的是 A 柱和 B 柱部分。看上去这一部分是单独压制而成,然后将其焊接到车门的轮辋板上,最终形成了车身侧面。」

图片来源 insideevs
看向图片,这一分析刚好符合专利中所描述的「车身的多个部分可以一体化制造,不需要进一步的组装和焊接」。由此,真相越来越近。
如 Holger Erker 所说,车身侧面和内部为两个部分,那第三部分是哪里?他表示是车身的尾部部分,「后车身由一个超大型铸件构成。铸件包括后长构件、横梁以及用于动力总成的组件,而内部轮毂罩的所有安装点,还出现了几何形状「X Y Z」。铸件还包含一个 C 柱结构,一直向上延伸到后车顶横梁。」
为了进一步论证,Holger Erker 表示,「这种铸造工艺肯定非常先进,因为铸造零件的尺寸和重量已经超过了当今所有汽车零件的已知范围。
制造的过程需要在具有真空支撑的冷室压力铸造机上使用 HPDC(高压压铸)完成,从而避免铸造产生的缺陷,比如孔、气泡、裂纹等。粗略估计,后车身部件的重量约为 40 至 45 千克。作为参考:奥迪 A8 的铸造后长构件重约 10.5 千克。」

图片来源 insideevs
Holger Erker 也表示,由于前部结构也是铸件,因此至少需要两台大型机器就足以满足生产要求。
所以通过分析可以得出,Model Y 白车身使用的新工艺已基本符合专利的描述。
而如果上方的推论都正确,这一切将变得非常快。
Holger Erker 说,「车身组装车间很可能只需要两条产线,一条是车身组合,另一条是焊接车身侧面,这将仅是传统车身修理厂的 60%。假设整个铸造周期,包括所有处理和准备工作,可以在不到两分钟的时间完成。那么铸造机的最大年产量将达到 15 万个零件。
这样一来,与传统的冲压钢车身相比,Model Y 白车身的总生产时间将大大减少。考虑到车身底部部分的净加工时间,铸件将消除 1000 至 1500 个焊接点,而每个焊接点需要 5 至 7 秒。总共可以节省约 120 分钟的时间。」
从这一维度解释,Model Y 提前交付的原因基本浮出了水面。
为什么说是基本,因为 Model Y 水下的部分可能还有更先进的技术。那就是特斯拉的新布线系统架构专利。这也可能是 Model Y 提前交付的原因之一。

特斯拉工艺进化之
革命性的新布线架构
但根据目前所掌握的信息,Model Y 是否采用了这一新技术,我们不得而知。
但可以肯定的是,即将交付的 Model Y 一旦已经使用了该专利的技术,那么传统汽车行业又将被进一步颠覆。等待传统汽车厂商的,将是另一场暴风雨。
回顾该专利,其编号为 US20190217794,名称为布线系统架构。
在该专利的首页,特斯拉这么解释到,「这是一种用于汽车的新布线系统,包括电力和通信系统,其含有多个装置。其中,该系统连接到具有外部护套的主干部分,分为布置在外部护套内的第一导体,以及布置在外部护套内的第二导体。是一对通过导体连接,设置在外部护套对侧上的内外部的屏蔽构件构件。」


图片来源 WIPO
至于为什么要做这样的改进,目的与「整体铸造车身」一样,都是为了提高生产效率,从而减少资金成本和时间成本。
用特斯拉的话来说,传统的电缆,比如分量电缆、USB 电缆或 HDMI 电缆,很容易用人的手来操作。但这些电缆的安装很难自动化,电缆缺乏足够的结构完整性和刚性,无法通过机械臂轻松拾取、移动和放置。
此外,由于传统的电缆不是刚性的部件,因此它们可能不容易形成不同的形状,并在狭窄的空间约束下被安装到预定的位置。在制造过程中对传统的柔性电缆进行布线,通常无法实现自动化,因此需要人工放置,而这种手动放置是费时、乏味且昂贵的。
所以这一技术的到来,将代替传统的布线结构,从而减少操作时间和传统工艺带来的一系列资金成本。
而据 electrek 此前的报道,其表示特斯拉揭示了革命性的新型布线架构,该架构可在制造过程中实现更多的机器人自动化,并为即将推出的 Model Y 等汽车使用更少的材料。
不管是从企业的战略角度,还是外媒的分析,种种迹象都让人浮想联翩。但最终的结果如何?这两种技术特斯拉是否都已经攻克?Model Y 正式交付后,一切将真相大白。
可以肯定的是,Model Y 并不是众人所说的「长胖的 Model 3」而已。
好了,等着看拆车吧!

图片来源 24hitech.ru
写在最后
正如前文中说的,特斯拉目前最大的短板就是在产能不足。Model Y 的提前交付预示着特斯拉克服了最后一块短板,自此,特斯拉大军正向汽车行业袭来。
而说到 Model Y,其实现差异化的根本是在技术上的进步,在竞争激烈且残酷的汽车市场,特斯拉用技术实现了差异化,找到了自己的发展壮大之路,通过技术控制成本,来实现利润—研发—利润—研发的良性循环。
这一差异化用马斯克的名言来说就是:Engineering is true magic(工程是真正的魔法)。
所以,传统的车企们,你们准备好迎接新一轮的暴风雨了吗?
来源:第一电动网
作者:42号车库
本文地址:https://www.d1ev.com/kol/111008
文中图片源自互联网,如有侵权请联系admin#d1ev.com(#替换成@)删除。