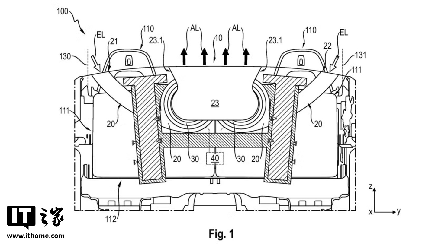
近日,保时捷一项新专利的落地可能将改变敞篷车的设计。这项专利利用气流本身的力量来隔绝外部气流侵入座舱,打造了一道“空气屏障”。工作原理是在乘客舱后方设有一组风道,外侧风道从车身两侧吸入空气,气流通过风道进入中央区域,这里安装有一台或两台驱动径向风扇的电机。风扇的作用是调节进气量的大小,从而确保车辆在任何行驶速度下,都能提供理想的气流量。风扇将气流通过位于车辆中央的出风口吹出,这个位置恰好是传统实体风挡的安装处。
保时捷在专利中还提到,出风口配备了可调节导流叶片。通过调整叶片角度,气流的形态和走向能够适配不同的车速,达到最佳的扰流效果。这套系统的最终效果,是借助吹出的气流形成一道屏障,阻挡车外紊乱气流涌入座舱,同时摒弃了传统实体风挡那种操作麻烦、外观突兀的设计。该系统结构相对简单,并不比汽车的空调系统更复杂,核心部件无非就是风道、风扇和出风口。因此,保时捷有望在不久的将来完成该技术的研发,并将其搭载于量产车型。



来源:一电快讯
返回第一电动网首页 >
以上内容由AI创作,如有问题请联系admin#d1ev.com(#替换成@)沟通,AI创作内容并不代表第一电动网(www.d1ev.com)立场。
文中图片源自互联网或AI创作,如有侵权请联系邮件删除。