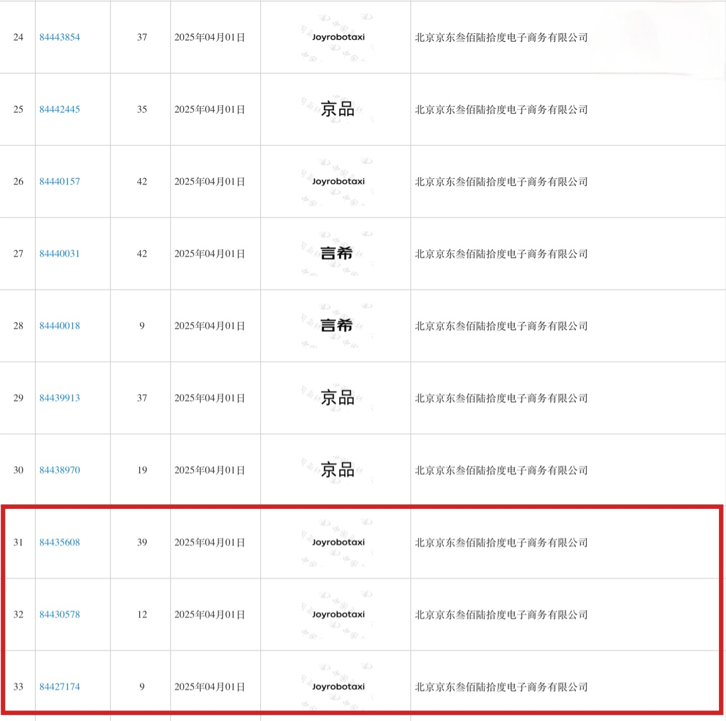
5月6日,中国商标网信息显示,京东集团子公司“北京京东叁佰陆拾度电子商务有限公司”于4月1日和4月9日申请注册了多枚“Joyrobotaxi”商标,涉及国际分类包括广告销售、科学仪器、建筑修理等,目前商标状态为等待实质审查。这一动作可能预示着京东集团正在为
自动驾驶出租车业务做准备。
北京京东叁佰陆拾度电子商务有限公司成立于2007年4月,法定代表人为张奇,注册资本高达29.2亿人民币。公司的经营范围包括机械设备销售、五金产品零售、建筑材料销售、电子产品销售等,由缪钦、李娅云、张雱共同持股。随着自动驾驶出租车产业的兴起,众多厂商如文远知行、萝卜快跑等已纷纷加入智能赛道,加速应用场景的落地,商业化前景备受期待。


来源:一电快讯
返回第一电动网首页 >
以上内容由AI创作,如有问题请联系admin#d1ev.com(#替换成@)沟通,AI创作内容并不代表第一电动网(www.d1ev.com)立场。
文中图片源自互联网或AI创作,如有侵权请联系邮件删除。